五金冲压模具设计步骤,你是否都有了解?

一:产品导入


1 精密模具冲压常规产品导入流程


1.1产品图→加工图→排样图→结构图→组立图→模具图纸


1.2 连续模具排样图及结构图须审核


1.3 单冲模具排样图及结构图须审核


1.3 模具图纸须审核签字生效,图纸规范清晰


2 样品控制流程


现场提供样品→自检→品管部检测→检测报告→检测报告确认→工程部→客户


二:模具设计


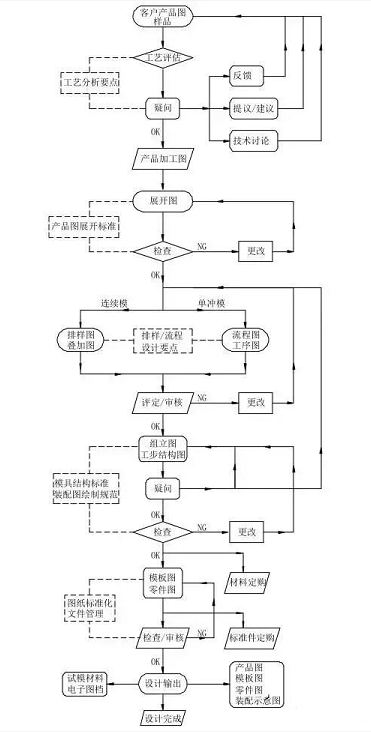
1.模具设计流程


(1) 模具设计流程图

五金冲压模具设计步骤,你是否都有了解?,1.png,模具,设计,模具设计,第1张

2) 此为模具设计基本流程,一般情况下,都应遵循该流程的步骤来规划及实施设计工作。对于某些特殊产品的设计,在此流程基础上,可以依实际情况适当变更。


2. 产品图、展开图、加工(工序)图、料带图的绘制规范


(1) 产品图 开模用的产品图或产品(样品)由客户及文控中心提供。因产品图均来自于各个客户,规范不一,且有图面不清晰,标注不完善,尺寸或检测基准混乱,或者人为疏忽造成的错误。故应以原图纸为基础,在忠于原设计的前提下,自行绘制本厂自用的产品图。对于客户图纸中的工艺问题,及时与客户的工程师沟通,难以达到的工艺或结构要求,可与对方工程师协商,通过降低工艺要求、更改产品结构或者增加工艺辅助手段的方法来解决。对客户原图纸不得更改,原样保存。客户提供的样品,用各种手段准确测绘出样品尺寸,作成产品图。客户样品要妥善保存。给制的产品图需数据准确,要求明了,尺寸标注完善,公差合理,便于检测。


(2) 加工图 产品图确认后,开始制订加工图。加工图的制订要注意以下几个要


点:


A: 产品尺寸的取值分冲孔与落料两种情况。冲孔尺寸是由冲头决定的,落料尺寸是由凹模决定的。


B: 产品公差的取值以产品图为主,产品图上标有公差的,按图纸执行,产品图上未注公差的,以客户惯用的公差为准.


公差取值方向参考图 1-1。 对于冲裁后会变大的尺寸,加工图尺寸为其下偏差的 2/3,对于冲裁后会变小的尺寸,加工图尺寸为其上偏差的 2/3。对于孔心距和孔边距等冲裁后尺寸基本保持不变的,则按中间公差取值。

五金冲压模具设计步骤,你是否都有了解?,2.png,模具,设计,模具设计,第2张


C: 考虑产品在成型过程中的变形趋势,针对这些变形情况采取一些预先补救的措施。


(3) 展开图 展开图依据加工图,对各段弯曲长度按顺序标明,以便于检查。


A: 展开计算原理 板料在弯曲过程中外层受到拉应力,内层受到压应力,从拉到压之间有一既不受拉力又不受压力的过渡层--中性层,中性层在弯曲过程中的长度和弯曲前一样,保持不变,所以中性层是计算弯曲件展开长度的基准,中性层与板料厚度的中间层是不同的概念。中性层位置与变形程度有关,当弯曲半径较大,折弯角度较小时,变形程度较小,中性层位置靠近板料厚度的中心处;当弯曲半径变小,折弯角度增大时,变形程度随之增大,中性层位置逐渐向弯曲中心的内侧移动。中性层到板料内侧的距离用λ表示.


B: 展开计算方法 基本公式: 产品展开长度=料内+料内+补偿量


a: R 角展开 以中性层材料长度不变为展开原则。


R 中=R 内+Kt

五金冲压模具设计步骤,你是否都有了解?,模具,设计,模具设计,第3张

五金冲压模具设计步骤,你是否都有了解?,模具,设计,模具设计,第4张

五金冲压模具设计步骤,你是否都有了解?,模具,设计,模具设计,第5张

五金冲压模具设计步骤,你是否都有了解?,模具,设计,模具设计,第6张

五金冲压模具设计步骤,你是否都有了解?,模具,设计,模具设计,第7张

免责声明:
1;所有标注为智造资料网zl.fbzzw.cn的内容均为本站所有,版权均属本站所有,若您需要引用、转载,必须注明来源及原文链接即可,如涉及大面积转载,请来信告知,获取《授权协议》。
2;本网站图片,文字之类版权申明,因为网站可以由注册用户自行上传图片或文字,本网站无法鉴别所上传图片或文字的知识版权,如果侵犯,请及时通知我们,本网站将在第一时间及时删除,相关侵权责任均由相应上传用户自行承担。
[complaint:内容投诉]
智造资料网打造智能制造3D图纸下载,在线视频,软件下载,在线问答综合平台 » 五金冲压模具设计步骤,你是否都有了解?