表面结构(9)表面结构要求的标注示例(图文教程)

    表面结构要求的标注示例

要  求

示  例

表面粗糙度:

双向极限值;上限值为Ra=50μm,下限值为Ra=6.3μm;均为“16%规则”(默认);两个传输带均为0.008-4mm;默认的评定长度5×4mm=20mm;表面纹理呈近似同心圆且圆心与表面中心相关;加工方法为铣削;不会引起争议时,不必加U和L

表面结构(9)表面结构要求的标注示例(图文教程),B2D4D11A1,结构,示例,标注,要求,第1张

除一个表面以外,所有表面的粗糙度:

单向上限值;Rz=6.3μm;“16%规则”(默认);默认传输带;默认评定长度(5×λc);表面纹理没有要求;去除材料的工艺

不同要求的表面的表面粗糙度

单向上限值;Ra=0.8μm;“16%规则”(默认);默认传输带;默认评定长度(5×λc);表面纹理没有要求;去除材料的工艺

表面结构(9)表面结构要求的标注示例(图文教程),B2D4D11B,结构,示例,标注,要求,第2张

表面粗糙度:

两个单向上限值;

① Ra=1.6μm时:“16%规则”(默认)(GB/T 10610);默认传输带(GB/T 10610和GB/T 6062);默认评定长度(5×λc)(GB/T 10610);

② Rzmax=6.3μm时:最大规则;传输带-2.5μm(GB/T 6062);评定长度默认5×2.5mm;表面纹理垂直于视图投影面;加工方法为磨削

表面结构(9)表面结构要求的标注示例(图文教程),B2D4D11C,结构,示例,标注,要求,第3张

表面粗糙度:

单向上限值;Rz=0.8μm;“16%规则”(默认)(GB/T 10610);默认传输带(GB/T 10610和GB/T 6062);默认评定长度(5×λc)(GB/T 10610);表面纹理没有要求;表面处理为铜件,镀镍/铬;表面要求对封闭轮廓的所有表面有效

表面结构(9)表面结构要求的标注示例(图文教程),B2D4D11D,结构,示例,标注,要求,第4张

表面粗糙度:

单向上限值和一个双向极限值;

① 单向Ra=1.6μm时,“16%规则”(默认)(GB/T 10610);传输带-0.8mm(λs根据GB/T 6062确定);评定长度5×0.8=4mm(GB/T 10610);

② 双向Rz时,上限值Rz=125μm,下限值Rz=3.2μm;“16%规则”(默认);上、下极限传输带均为-2.5mm(λs根据GB/T 6062确定);上、下极限评定长度均为5×2.5=12.5mm(GB/T 10610),即使不会引起争议,也可以标注U和L符号;表面处理为钢件,镀镍/铬

表面结构(9)表面结构要求的标注示例(图文教程),B2D4D11E,结构,示例,标注,要求,第5张

表面结构和尺寸可以标注在同一尺寸线上

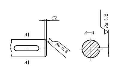
键槽侧壁的表面粗糙度:

一个单向上限值;Ra=3.2μm;“16%规则”(默认)(GB/T 10610);默认评定长度(5×λc)(GB/T 10610);默认传输带(GB/T 10610和GB/T 6062);表面纹理没有要求;去除材料的工艺

倒角的表面粗糙度:

一个单向上限值;Ra=6.3μm;“16%规则”(默认)(GB/T 10610);默认评定长度(5×λc)(GB/T 10610);默认传输带(GB/T 10610和GB/T 6062);表面纹理没有要求;去除材料的工艺

表面结构(9)表面结构要求的标注示例(图文教程),b2d4d11f,结构,示例,标注,要求,第6张

表面结构和尺寸可以一起标注在延长线上或分别标注在轮廓线和尺寸界线上

示例中的三个表面粗糙度要求:

单向上限值;分别是Ra=1.6μm;Ra=6.3μm,Rz=12.5μm;“16%规则”(默认)(GB/T 10610);默认评定长度(5×λc)(GB/T 10610);默认传输带(GB/T 10610和GB/T 6062);表面纹理没有要求;去除材料的工艺

表面结构(9)表面结构要求的标注示例(图文教程),b2d4d11g,结构,示例,标注,要求,第7张

表面结构、尺寸和表面处理的标注:该示例是三个连续的加工工序

第一道工序:单向上限值;Rz=1.6μm;“16%规则”(默认)(GB/T 10610);默认评定长度(5×λc)(GB/T 10610);默认传输带(GB/T 10610和GB/T 6062);表面纹理没有要求;去除材料的工艺

第二道工序:镀铬,无其他表面结构要求

第三道工序:一个单向上限值,仅对长为50mm的圆柱表面有效;Rz=6.3μm;“16%规则”(默认)(GB/T 10610);默认评定长度(5×λc)(GB/T 10610);默认传输带(GB/T 10610和GB/T 6062);表面纹理没有要求;磨削加工工艺

表面结构(9)表面结构要求的标注示例(图文教程),b2d4d11h,结构,示例,标注,要求,第8张

免责声明:
1;所有标注为智造资料网zl.fbzzw.cn的内容均为本站所有,版权均属本站所有,若您需要引用、转载,必须注明来源及原文链接即可,如涉及大面积转载,请来信告知,获取《授权协议》。
2;本网站图片,文字之类版权申明,因为网站可以由注册用户自行上传图片或文字,本网站无法鉴别所上传图片或文字的知识版权,如果侵犯,请及时通知我们,本网站将在第一时间及时删除,相关侵权责任均由相应上传用户自行承担。
[complaint:内容投诉]
智造资料网打造智能制造3D图纸下载,在线视频,软件下载,在线问答综合平台 » 表面结构(9)表面结构要求的标注示例(图文教程)