气动技术_4、气动控制阀(图文教程)

第4章气动控制阀

4.1 概述

一、气动控制阀的分类

    气动控制阀是指在气动系统中控制气流的压力、流量和流动方向,并保证气动执行元件或机构正常工作的各类气动元件。控制和调节压缩空气压力的元件称为压力控制阀。控制和调节压缩空气流量的元件称为流量控制阀。改变和控制气流流动方向的元件称为方向控制阀。

    除上述三类控制阀外,还有能实现一定逻辑功能的逻辑元件,包括元件内部无可动部件的射流元件和有可动部件的气动逻辑元件。在结构原理上,逻辑元件基本上和方向控制阀相同,仅仅是体积和通径较小,一般用来实现信号的逻辑运算功能。近年来,随着气动元件的小型化以及PLC控制在气动系统中的大量应用,气动逻辑元件的应用范围正在逐渐减小。

    从控制方式来分,气动控制可分为断续控制和连续控制两类。在断续控制系统中,通常要用压力控制阀、流量控制阀和方向控制阀来实现程序动作;连续控制系统中,除了要用压力、流量控制阀外,还要采用伺服、比例控制阀等,以便对系统进行连续控制。气动控制阀分类如图4.1。

气动技术_4、气动控制阀(图文教程),气动技术_4、气动控制阀,教程,技术,第1张

二、气动控制阀和液压阀的比较

(一) 使用的能源不同

气动元件和装置可采用空压站集中供气的方法,根据使用要求和控制点的不同来调节各自减压阀的工作压力。液压阀都设有回油管路,便于油箱收集用过的液压油。气动控制阀可以通过排气口直接把压缩空气向大气排放。

(二) 对泄漏的要求不同

    液压阀对向外的泄漏要求严格,而对元件内部的少量泄漏却是允许的。对气动控制阀来说,除间隙密封的阀外,原则上不允许内部泄漏。气动阀的内部泄漏有导致事故的危险。

对气动管道来说,允许有少许泄漏;而液压管道的泄漏将造成系统压力下降和对环境的污染。

(三) 对润滑的要求不同

    液压系统的工作介质为液压油,液压阀不存在对润滑的要求;气动系统的工作介质为空气,空气无润滑性,因此许多气动阀需要油雾润滑。阀的零件应选择不易受水腐蚀的材料,或者采取必要的防锈措施。

(四) 压力范围不同

    气动阀的工作压力范围比液压阀低。气动阀的工作压力通常为10bar以内,少数可达到40bar以内。但液压阀的工作压力都很高(通常在50Mpa以内)。若气动阀在超过最高容许压力下使用。往往会发生严重事故。

(五) 使用特点不同

    一般气动阀比液压阀结构紧凑、重量轻,易于集成安装,阀的工作频率高、使用寿命长。气动阀正向低功率、小型化方向发展,已出现功率只有0.5W的低功率电磁阀。可与微机和PLC可编程控制器直接连接,也可与电子器件一起安装在印刷线路板上,通过标准板接通气电回路,省却了大量配线,适用于气动工业机械手、复杂的生产制造装配线等场合。

三、 气动控制阀的结构特性

    气动控制阀的结构可分解成阀体(包含阀座和阀孔等)和阀心两部分,根据两者的相对位置,有常闭型和常开型两种。阀从结构上可以分为:截止式、滑柱式和滑板式三类阀。

(一)截止式阀的结构及特性

    截止式阀的阀心沿着阀座的轴向移动,控制进气和排气。图4.2所示为二通截止式阀的基本结构。图4.2a中,在阀的P口输入工作气压后,阀芯在弹簧和气体压力作用下紧压在阀座上,压缩空气不能从A口流出;图4.2b为阀杆受到向下的作用力后,阀芯向下移动,脱离阀座,压缩空气就能从P口流向A口输出。这就是截止式阀的切换原理。

气动技术_4、气动控制阀(图文教程),气动技术_4、气动控制阀,教程,技术,第2张

    图4.3所示的阀为常通型结构。图4.3a为初始状态,与图4.2a相反,阀心在弹簧力作用下离开阀座,压缩空气从P口流向A口输出。图4.3b为工作状态,阀杆在向上的力作用下,阀心紧压在阀座上关闭阀口,流道被关断,A口没有压缩空气流出。

    图4.4所示为三通截止式阀的结构,阀有P、A、0三个孔口。图4.4a为阀的初始状态,阀心紧压在上阀座上,P口和A口通路被关断,A口和0口相通。阀的输出A口没有输出。

气动技术_4、气动控制阀(图文教程),气动技术_4、气动控制阀,教程,技术,第3张

    图4.4b为工作状态。阀杆受力后使阀心离开上阀座而紧压在下阀座上,关闭排气O口,打开P口至A口之间的通道,压缩空气从P口流向A口输出。图4.4c所示为阀在切换过程中阀心所处的瞬态位置。此时,P、A、0三个孔口同时相通,而发生串气现象。实际上,对于快速切换的阀,这种串气现象对阀的动作不存在什么影响。但缓慢切换时,应予以注意。

    截止式阀的结构决定了其开启所需的时间较短,但开启大口径的阀则需较大的开启力。因此截止式阀多用于小口径的阀。需要大流量或高压时,往往采取先导式的结构。其方法是增加一个控制活塞,先导控制气压作用在活塞上产生的较大操纵力,以弥补上述缺点。

气动技术_4、气动控制阀(图文教程),气动技术_4、气动控制阀,教程,技术,第4张

    为了使截止式阀密封可靠,操纵方便,另一种方法是采用压力平衡的方法,如图4.5所示,在阀杆两侧增加了活塞,活塞受气压作用面积和阀心受压面积相等,这种阀称为压力平衡式阀。由于初始状态时,工作气压作用在阀杆上的合力为零,使开启阀门的操作力大大降低。

(二)滑柱式阀的结构及特性

    滑柱式阀是用圆柱状的阀心在圆筒形阀套内沿轴向移动,从而切换气路。图4.6所示为滑柱式阀的基本结构。图4.6左图为阀的初始状态,滑柱在弹簧力的作用下右移。此时,压缩空气从输人口P流向输出口A,A口有气压输出,B口无气压输出。图4.6右图为阀的工作状态;滑柱在操纵力作用下克服弹簧力左移,关断P口和A口通路,接通P口和B口。于是,B口有输出,A口无输出。

气动技术_4、气动控制阀(图文教程),气动技术_4、气动控制阀,教程,技术,第5张

    滑柱式阀在结构上只要稍稍改变阀套或滑柱的尺寸、形状就能实现两位四通和两位五通阀的功能。

4.2 方向控制阀

一、方向控制阀概述

气动技术_4、气动控制阀(图文教程),气动技术_4、气动控制阀,教程,技术,第6张

(一)操作方式

    为了使阀换向,必须对阀心施加一定大小的轴向力。使其迅速移动改变阀心的位置。这种获得轴向力的方式叫做换向阀的操作方式,或控制方式。通常可分为气压、电磁、人力和机械四种操作方式。

1.气压操作

    用气压力来获得轴向力使阀心迅速移动换向的操作方式叫做气压操作。它按施加压力的方式可分为加压控制、卸压控制、差压控制和时间控制。

1)加压控制是指施加在阀心控制端的压力逐渐升到一定值时,使阀心迅速移动换向的控制,阀心沿着加压方向移动。

2)卸压控制是指施加在阀心控制端的压力逐渐降到一定值时,阀心迅速换向的控制,常用作三位阀的控制。

3)差压控制是指阀心采用气压复位或弹簧复位的情况下,利用阀心两端受气压作用的面积不等(或两端气压不等)而产生的轴向力之差值,使阀心迅速移动换向的控制。其原理如图4.7所示,K1为控制气压口。

这种控制方式只需一个控制信号,故得到广泛的应用,可应用于各种结构的主阀.。气压复位省去了弹簧,提高了可靠性。差压控制的特点是所控制的主阀不具有记忆功能,且控制信号和复位信号均须为长信号。

4)时间控制是指利用气流向由气阻(节流孔)和气容构成的阻容环节充气,经过一定时间后,当气容内压力升至一定值时,阀心在差压力作用下迅速移动换向的控制。

时间控制的信号输出有脉冲信号和延时信号两种。图4.8所示为脉冲阀原理图,在阀的P口输入气压信号后,A口即有输出,同时气流经节流孔向气室充气,当气容内的压力上升到阀的切换压力时,活塞向左移关断P—A通路,A口无输出,即阀的A口输出为脉冲信号。脉冲信号的宽度决定于节流孔和气室的大小。

气动技术_4、气动控制阀(图文教程),气动技术_4、气动控制阀,教程,技术,第7张

    图4.9所示为一种二位三通延时换向阀结构原理(常断延时通型)。调节节流针阀的开度即可改变延时时间。

气动技术_4、气动控制阀(图文教程),气动技术_4、气动控制阀,教程,技术,第8张

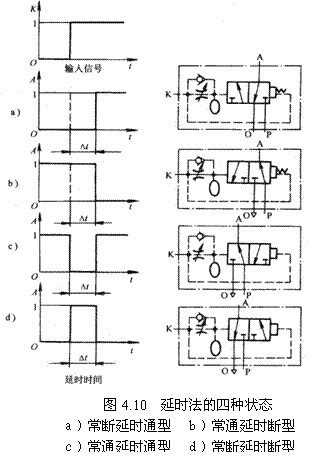
    延时换向阀的输出可组成四种型式:常断延时通、常通延时断,常断延时断及常通延时通。其输出状态和对应的图形符号如图4.10所示。

气动技术_4、气动控制阀(图文教程),气动技术_4、气动控制阀,教程,技术,第9张

2.电磁操作

    用电磁力来获得轴向力,使阀心迅速移动的换向控制方式称为电磁操作。它按电磁力作用于主阀阀心的方式分为直动式和先导式两种。

1)直动式电磁控制是用电磁铁产生的电磁力直接推动阀心来实现换向的一种电磁控制阀。根据阀芯复位的控制方式可分为单电控和双电控,其控制原理如图4.11所示。图4.11a、b为直动式单电磁控制弹簧复位方式。图4.10c、d为直动式双电磁控制方式。

气动技术_4、气动控制阀(图文教程),气动技术_4、气动控制阀,教程,技术,第10张

2)先导式电磁控制是指由先导式电磁阀(一般为直动式电磁控制换向阀)输出的气压力来操纵主阀阀芯实现阀换向的一种电磁控制方式。它实际上是一种由电磁控制和气压控制(加压、卸压、差压等)的复合控制,通常称为先导式电磁气控。图4.12所示为先导式电磁气控换向阀原理,图4.12a、b为单电控动作原理。图4.12c、d为双电控动作原理。

气动技术_4、气动控制阀(图文教程),气动技术_4、气动控制阀,教程,技术,第11张

3.人力操作

    用人力来获得轴向力使阀迅速移动换向的控制方式称作人力操作。人力控制可分为手动控制和脚踏控制等。按人力作用于主阀的方式可分为直动式、先导式。

4.机械操作

    用机械力来获得轴向力使阀芯迅速移动换向的控制方式称作机械操作。按机械力作用于主阀的形式可分为直动式和先导式两种。

(二)方向控制阀的通口数和基本机能

    换向阀的基本机能就是对气体的流动产生通、断作用。一个换向阀具有同时接通和断开几个回路,可以使其中一个回路处于接通状态而另一个回路处于断开状态,或者几个回路同时被切断。为了表示这种切换性能,可用换向阀的通口数(通路数)来表达。

 1)二通阀二通阀有两个通口,即输入口(用P表示)和输出口(用A表示),只能控制流道的接通和断开。根据P→A通路静止位置所处的状态又分为常通式二通阀和常断式二通阀。

 2)三通阀三通阀有三个通口,除P、A口外,还有一个排气口(用O表示)。根据P→A、A→0通路静止位置所处的状态也分为常通式和常断式两种三通阀。

 3)四通阀四通阀有四个通口,除P、A、0外。还有一个输出口(用B表示)。流路为P→A、B→0,或P→B、A→0。可以同时切换两个流路,主要用于控制双作用气缸。

 4)五通阀  五通阀有五个通口,除P、A、B外,有两个排气口(用01、02表示)。其流路为P→A、B→02或P→B、A一01。这种阀与四通阀一样作为控制双作用气缸用。这种阀也可作为双供气阀(即选择阀)用,即将两个排气口分别作为输入口Pl、P2。

此外,也有五个通口以上的阀,是一种专用性较强的换向阀,这里不作介绍。

(三) 方向控制阀的位数

位数是指换向阀的切换状态数,有两种切换状态的阀称作二位阀,有三种切换状态的阀称作三位阀。有三种以上切换状态的阀称作多位阀。常见换向阀的通路数与切换位置如表4.1所示。

气动技术_4、气动控制阀(图文教程),气动技术_4、气动控制阀,教程,技术,第12张

1)二位阀二位阀通常有二位二通、二位三通、二位四通、二位五通等。二位阀有两种,一种是取消操纵力后能恢复到原来状态的称为自动复位式。另一种是不能自动复位的阀(除非加反向的操纵力),这种阀称为记忆式。

2)三位阀三位阀通常有三位三通、三位四通、三位五通等。三位阀中,中间位置状态有中间封闭、中间卸压、中间加压三种状态。表4.1所示为气动换向阀的通路数与切换位置

数。

(四)方向控制阀的公称通径

    阀的规格直接反映了阀的流通能力,是阀的一项基本参数,也是用户选用换向阀的重要依据之一。通常用其配管的公称通径来表示,另外也有用螺纹管接头的公称通径来表示。表4.2列出了阀的常用公称通径及相应的流量性能、接管螺纹等,供选用参考。

表4.2 阀的常用公称通径及相应的流量性能、接管螺纹

公称通径/mm

6

8

10

15

20

25

2

40

50

连接

螺纹

公制

M10×1

M14×1.5

M18×1.5

M22×1.5

M27×2

M33×2

M42×2

M50×2

M60×2

英制

G1/8

G1/4

G3/8

Gl/2

G3/4

G1

Gl 1/4

G1 1/2

G2

s值/mm2

10

20

40

60

110

190

300

400

650

KV(C)值

0.50

1.01

2.0

3.0

5.6

9.6

15.2

20.2

32.8

Cv值

0.59

1.18

2.4

3.5

6.5

11.2

17.7

23.6

38.3

额定流量/(m3/h)

2.5

5

7

10

20

30

50

70

100

压力降/MPa

≤0.02

≤0.015

≤0.015

≤0.015

≤0.012

≤0.012

≤0.012

≤0.01

≤0.01

二、电磁阀

(一)电磁铁的基本结构

电磁阀由电磁铁和阀体组成。电磁铁是电磁阀的主要部件之一,其作用是利用电磁原理将电信号转换成阀芯(动铁心)的位移。根据电磁铁的结构,可分为T型、Ⅰ型和平板型,如图4.13所示。

气动技术_4、气动控制阀(图文教程),气动技术_4、气动控制阀,教程,技术,第13张

T型电磁铁为了减少铁损,用高磁通的硅钢片层叠制成,能够获得较好的效率和较大的吸引力,但所需的行程和体积较大,主要用于行程较大的直动式电磁阀。

Ⅰ型电磁铁适用于直流电磁铁和小型交流电磁铁,用圆柱形普通磁性材料制成,其铁心的端面通常制成平面状或圆锥状。与T型电磁铁相比,Ⅰ型电磁铁的吸力较小,行程较短。圆柱形铁心的重量轻、吸引时的冲击小,所以使用寿命长,主要用于小型直动式和先导式电磁阀。

平板型电磁铁适用于交流和直流小型电磁铁,其特性与Ⅰ型相似,主要用于小型直动式截止阀和先导式电磁阀。

(二)电磁铁的基本特性

    图4.14所示为电磁铁的电流与行程的特性关系。由图4.14可见,交流电磁铁开始吸合时电流最大(起动电流);当动铁心与静铁心吸合后,电流呈一定值(保持电流)。大型交流电磁阀的启动电流可达保持电流的10倍以上,是小型交流电磁阀和先导式电磁阀的2倍左右。直流电磁铁的电流与行程无关,电流始终保持一定值。

    通常,电磁铁长时间吸合是不会烧坏的。但是,当发生诸如主阀被杂质卡住、动铁心与静铁心没有完全吸合等情况时,特别是交流直动式电磁阀会引起电流过载,并产生高温,烧坏线圈。

气动技术_4、气动控制阀(图文教程),气动技术_4、气动控制阀,教程,技术,第14张

    图4.15所示为电磁铁的吸力特性。交流电磁铁和直流电磁铁相似,当电压增加或行程减小时,吸力增加。但是,当动铁心的行程较大时,由于交流与直流电磁铁的电流特性不同,直流电磁铁的吸力将大大下降,而交流电磁铁吸力下降较缓慢。

    常用电磁铁的额定电压有ACll0V、AC220V、DC24V等三种,允许电压偏差值为±10%,小型直流电磁铁的电压允许偏差值为-15%一+10%。交流电磁铁的特性因频率不同而变,但当频率为50Hz或60Hz时,其特性相差甚小,可以通用。

    交流电磁铁因磁力线和电流方向交替变化,会发生动铁心的吸合与释放的反复动作,其频率为交流频率的2倍,因而会产生交流峰鸣声。其解决方法是在静铁心的吸合端面上嵌入短路的整流铜环,利用短路铜环感应的电流产生与主磁力线相位错开的磁力线来阻止交流蜂鸣声。

(三)二通电磁阀

气动技术_4、气动控制阀(图文教程),气动技术_4、气动控制阀,教程,技术,第15张

图4.16所示为二通电磁阀。图4.16a为直动式电磁阀,阀的动铁心端面带有密封橡胶,可直接封住阀座气孔。电磁铁通电时,动铁心被吸合向上,主阀打开;电磁铁断电时,动铁心被弹簧力复位,主阀关闭。图4.16b为膜片截止式先导电磁阀,膜片上有一节流小孔,输入气压能通过节流小孔作用在膜片上部,使主阀关闭。当电磁铁通电时动磁心被吸合向上,膜片上部的空气经阀座气孔流出,压力下降,膜片在上下压差作用下被顶起,主阀被打开。当电磁铁断电时动铁心关闭阀座气孔,上部压力增加,压下膜片关闭主阀。这种阀的特点是体积小、流通能力大,可通过大流量。这类阀适用于石油、化工、制冷等工业部门,用来输送空气、隋性气体、水及矿物油。

气动技术_4、气动控制阀(图文教程),气动技术_4、气动控制阀,教程,技术,第16张

(四)三通电磁阀

    图4.17所示为截止式二位三通直动式电磁阀。这种阀有常闭式(NC)和常开式(NO)两种。图示为常闭式,电磁铁的动铁心两端面装有密封橡胶,上下有两个阀座。当电磁铁断电时,下面阀座被封住,P→A通路关闭,A→0通路打开;当电磁铁通电时,上面的阀座被封住。P→A通路打开,A→O通路关闭。阀体上装有手动杆,用来手动操作阀的切换。这种阀结构简单,工作可靠。常用于控制小型单作用气缸,或用作先导电磁阀的先导部分。

(五)四通和五通电磁阀

    根据电磁铁的个数分为单电控和双电控两种。根据切换位置分为二位阀和三位阀,而主阀部分的密封方式有多种多样。

气动技术_4、气动控制阀(图文教程),气动技术_4、气动控制阀,教程,技术,第17张

(1) 二位单电控电磁阀

    图4.18所示为一种二位五通单电控电磁阀,其主阀采用截止式弹簧复位结构。先导阀的气源可以用内部P口气源(内先导),也可以用外接控制气源(外先导)。该阀用作外先导时,其最低工作压力可从零开始。

    图4.19所示也是一种二位五通单电控电磁阀,其主阀采用滑柱式气压复位结构。通路间密封采用D形密封,安装在滑柱的密封沟槽中,由于密封圈圆弧直径很小,压缩量只有0.05mm左右,所以通过圆角为0.2mm左右沟槽时不会损坏。该阀具有结构紧凑、摩擦阻力小、无给油润滑等特点。

(2) 二位双电控电磁阀

    这种阀如图4.20 a所示,具有记忆功能,电磁铁断电后主阀仍继续保持所处的切换位置。

气动技术_4、气动控制阀(图文教程),气动技术_4、气动控制阀,教程,技术,第18张

图4.20所示为一种二位五通双电控先导式电磁阀,先导原理如图4.20b所示。主阀部分由TS密封(Triple Sqeeze)的无阀套的滑柱式阀构成。其特点是滑动阻力小,在密封方向上截面对称,无密封方向性,具有压缩密封和唇形密封的各自优点。装配时,在阀杆的TS密封件上已封入了特种润滑油脂,可在无给油润滑系统中应用。阀的结构简单,维修方便。

(3) 三位双电控电磁阀

    这种阀具有两个电磁铁,在两个电磁铁同时断电时,阀杆回复到中间位置。除中间位置以外的另外两个切换位置的空气流路状态与二位五通阀相同。中间位置的通路状态,一般有中间封闭、中间卸压和中间加压三种状态。这种三位阀常用于停电或紧急停止后仍需保持气动执行元件正常工作状态的场合。

    图4.21所示为三位五通双电控换向阀。在没有通电时,由于两个弹簧的作用,使滑柱处于中间封闭位置。当电磁铁1通电时,它输出的气压作用在控制活塞上。阀换向:则P→A接通,B→O2排气;同样,当电磁铁2通电时,则P→B接通,A→01排气。该三位阀是靠加压控制使阀换向的,电磁先导阀为常断式。若三位阀用卸压控制换向,则电磁先导阀需用常通式的。

气动技术_4、气动控制阀(图文教程),气动技术_4、气动控制阀,教程,技术,第19张

(六)电磁阀特性

    电磁阀的特性包括4个方面:

(1)流量特性  流量参数可以用有效截面积S值、流通能力Cv值表示。

(2)响应时间  从接受控制信号开始到换向阀换向动作完成的时间,可分为开启时间与关闭时间。如图4.22所示。

气动技术_4、气动控制阀(图文教程),气动技术_4、气动控制阀,教程,技术,第20张

(3)最高换向频率 指电磁阀所能反复切换的最高次数,其单位是Hz。电磁阀最高换向频率不仅取决于开关速度,还与电磁铁温升、阀的构造和工作寿命等因素有关。通常,小型直动式电磁阀约为10~20Hz,大型先导阀约为10Hz左右,高频电磁阀可达30 Hz。

(4)温度 通常电磁阀工作的环境温度为5~50℃,温度下限是由排气时绝热膨胀引起的温度下降不会使空气中的水分结冰的温度。温度上限是由电磁阀材料本身耐温范围所决定的。电磁阀线圈极限允许温升见表4.3。

表4.3电磁阀线圈极限允许温升(℃)

绝缘等级

A级绝缘

E级绝缘

B级绝缘

F级绝缘

H级绝缘

长期工作制

65

80

90

115

140

间断长时或反复短时工作

80

95

105

130

155

(七) 电磁阀的电气结构

    电磁阀的电气结构应使接线可靠,更换阀体方便,易于维修保养。外接线方式有多种。图4.23所示为电磁阀各种接线方式示意图。

气动技术_4、气动控制阀(图文教程),气动技术_4、气动控制阀,教程,技术,第21张

1) 直接引线接线直接从电磁铁的模压成形塑封中引出导线,且用不同颜色的导线来表示交流、直流和电压等参数。

2) 接线座方式在模压成形塑封时将接线座与电磁铁制成一体,使用接线端子来连接导线的方式。

3) DIN插座方式使用德国DIN标准设计的插座接线端子的接线方式。

4) 接插座方式在电磁铁上装有接插座的接线方式,并附有连接导线的插口附件。

在阀的电气结构中常常设有指示灯,以识别电磁阀是否通电。通常,交流电工作时用氖灯,直流电工作时用发光二极管。在电磁阀电源接通或断开瞬时,在电磁铁线圈的两端会产生额定电压数倍的反电势引起的峰值电压,它可能导致控制电路误动作。或损坏电子器件。为此,电气结构中常装有(内装、或外插)由压敏电阻、RC元件或二极管构成的保护线路,用来吸收反电势峰值电压。

(八)电磁阀的连接方式

    阀的连接方式有板式连接、管式连接、集装式 (阀岛、汇流板) 连接和法兰连接。板式连接装卸方便,修理时不必拆卸管道,这对复杂的气路系统十分重要。管式连接多用于简单的气路系统中,或采用快速接头的系统中。法兰连接主要用于大通径的阀,如公称通径在32mm以上的阀。

    集装连接是在板式连接的基础上出现的一种新的连接方式,如图4.24所示。它使管路大大简化,所占空间大大缩小,装拆简便,特别适用于复杂的气路系统。

    集装连接是将多个电磁阀或气控阀集中安装在连接板上,连接板使板上安装的阀有共同的供气和共同的排气管路,或者共同的供气和个别排气的管路。

    从其装配结构可以分为整体型、模块型、集中接线型和少接线型等集装板结构。集装板材料通常为铝合金,也有带快速接头的注塑成形集装板。

1)整体型集装板其内部气路结构简单,体积小,结构紧凑,造价低,板上安装的阀数量不能任意改变。输出口A、B通常设在集装板的上面或侧面,如图4.24所示。

2)模块型集装板是一组模块化的集装板,由连接螺纹将集装板等组合而成,可根据所安装的阀数量和回路结构进行任意拼装,构成复杂的气动回路。

3)集中接线型集装板这种集装板内部有接线用的接插型多芯接线端子,所安装的电磁阀可通过这些接线端子集中接线与外部连接。电磁阀与集装板的接线方式有引线型和接插座型两种,按需选用。其特点是接线简单,外观整洁,维修方便。

4)少接线型集装板在现代气动自动化系统中,常使用PLC可编程序控制器进行系统的程序控制。为此,利用数字信号处理技术。将PLC的并联信号变换成串联信号输送给电磁阀,、仅用3—4根导线便可同时控制几十个甚至上百个电磁阀。在集装板内装有信号转换器,该转换器将串联信号再次转换为并联信号,并按编码送至指定地址的电磁阀使之动作。采用这种集装板大大减少了繁杂的接线工作,又提高了系统工作的可靠性。少接线型集装板应用如图4.25所示。

气动技术_4、气动控制阀(图文教程),气动技术_4、气动控制阀,教程,技术,第22张

三、 气控阀

(一) 气控阀的结构

    气控阀主阀部分结构与电磁阀相同。气动操纵方式有直动式和先导式两种。直动式是控制气压直接进行主阀切换;先导式是控制气压先经活塞或膜片放大,然后再进行主阀的切换。

图4.26所示为间隙密封双气控换向阀,靠钢球弹簧定位机构定位,带有手动装置,供安装调试用。该阀具有无给油润滑特点。

气动技术_4、气动控制阀(图文教程),气动技术_4、气动控制阀,教程,技术,第23张

气动技术_4、气动控制阀(图文教程),气动技术_4、气动控制阀,教程,技术,第24张

图4.27所示为截止式双气控换向阀,由四个二位三通阀构成,能实现四位五通功能。靠弹簧实现中间封闭位置状态。当K1有输入信号时,阀b、d打开,P→A、B→02接通;当K2有输入信号时,阀a、c打开,P→B、A→ 0l接通;当Kl、K2同时有脉冲信号时,P、A、B、01、02全部接通。该阀适用于定位、紧急停机及将双作用气缸停在特定位置等场合。

(二)气控阀的特点

    采用间隙密封的滑柱式结构时,其滑动摩擦力很小,多为直动式操纵,且阀心上受力平衡,控制压力不受工作压力影响,所以可在低压条件下动作。

    采用弹性密封的滑柱式结构时,由于滑动摩擦力较大多为先导式操纵。

    采用截止式结构的阀,通常实现二位三通阀较方便.但无记忆功能。由截止式结构构成二位五通换向阀,需由两个二位三通截止式阀并联构成。

气动技术_4、气动控制阀(图文教程),气动技术_4、气动控制阀,教程,技术,第25张

四、 人力控制阀

(一) 人力控制阀的特点

    人力控制阀(以下简称人控制)在手动、半自动和自动控制系统中得到了广泛的应用。在手动系统中,一般用人控阀直接操纵气动执行机构;在半自动和自动系统中多用作信号阀。实际上。人控阀除了头部操纵结构和要求操纵灵活外,其阀心结构基本上和机控阀相同。

    人控阀应安装在便于操作的地方,以防止长期操作引起疲劳。操作力不宜过大。为防止误操作,通常需要增加安全装置,脚踏阀上应有防护罩。

(二)手动阀

    手动阀的操纵头部结构主要有按钮式、磨菇头式、旋钮式、拨动式、锁式等,如图4.28所示。按钮式、磨菇头式有单稳态与双稳态之分,通常是单稳态的,无记忆功能。旋钮式、拨动式、锁式都为双稳态结构,具有定位性能,即操作力除去后仍能保持阀的工作状态不变。,通常采用弹簧复位。主阀结构主要采用截止式、滑柱式和滑板式。虽然前两种用得较多,但后者容易实现多位多通,常用作分配阀。手动阀操作力不能太大,故常采用长手柄以减小操作力,或者阀心采用气压平衡结构,减小气压作用面积。手动阀操作较缓慢,为了避免各气路相通现象,阀杆和阀芯做成分离的两部分,阀杆中间的排气口在切换过程中先与阀心平面

气动技术_4、气动控制阀(图文教程),气动技术_4、气动控制阀,教程,技术,第26张

接触关闭,然后再打开输出口。图4.29为手动4/3(三位四通)旋转阀,手动旋转金属的有通气孔的圆盘,使空气内部连接阀内的气口。压力的不平衡使圆盘紧贴它的配合面,压力输入在圆盘的上方。仅有极小的泄漏量。

(三)脚踏阀

    对于脚踏阀来说,要求踏板位置不能太高,行程不能太长,与手动阀相比,操作力可大些。脚踏阀有单板和双板两种。单板脚踏阀是脚一踏下便进行切换,脚一离开便恢复到原位,即两位式,如图4.30所示。双板脚踏阀有两位式和三位式。三位式有三个动作位置。脚没有踏下时,两踏板处于水平位置,阀为中间状态。当脚踏下踏板的任一边,阀即处于另二个动作位置之一。

气动技术_4、气动控制阀(图文教程),气动技术_4、气动控制阀,教程,技术,第27张

五、机控阀

(一)机控阀的特点

    机控阀是利用执行机构或者其它机构的机械运动、借助凸轮、滚轮、杠杆和撞块等机构来操纵阀杆,使阀换向。在机控阀中,有直接控制双作用气缸的五通阀,也有用于控制单作用气缸和产生控制信号的三通阀。这两种阀都为弹簧复位式,并采用直接接管的连接方式。

(二)机控阀的头部结构形式

    机控阀头部结构形式,常用的有直动圆头式、滚轮式、杠杆滚轮式、可通过式等,如图4.31所示。

气动技术_4、气动控制阀(图文教程),气动技术_4、气动控制阀,教程,技术,第28张

    直动圆头式是由机械力直接推动阀杆的头部使阀切换。滚轮式头部结构可以减小阀杆所受的侧向力,杠杆滚轮式可减小阀杆所受的机械力。可通过式结构的头部滚轮是可折回的,当机械撞块正向运动时,阀心被压下,阀换向。返回时,阀心不动,阀不换向。弹簧触须式结构操作力小,常用于计数发信号。

4.3 其它阀

一、单向阀

    气流在单向阀内只能向一个方向流动而不能反向流动,图4.32所示为单向阀的结构原理图。图示位置为阀在弹簧力作用下处于关闭状态。当气流沿P→A流动时,由于在P口输入的气压作用在活塞上的力克服了弹簧力和摩擦力而将阀门打开。反之,当气流反向流动时,阀在A口输入气压和弹簧力作用下关闭。弹簧的作用是增加阀的密封性,防止低压泄漏。另外,在气流反向流动时,加速阀的关闭。对于单向阀的基本要求是在正向流动时,阀的流动阻力要小,即流通能力大。反向流动时,要求密封性能好,即泄漏量小 。

气动技术_4、气动控制阀(图文教程),气动技术_4、气动控制阀,教程,技术,第29张

气动技术_4、气动控制阀(图文教程),气动技术_4、气动控制阀,教程,技术,第30张

二、梭阀(或阀)

    图4.33为梭阀的结构原理,这种阀相当于由两个单向阀串联而成。无论是P1口还是P2口输入,A口总是有输出的。其作用相当于实现逻辑或门的逻辑功能。为了保证梭阀工作可靠,在工作时不允许Pl、P2两口的输入信号相互干扰,即通路不能有串气现象。

三、双压力阀(与阀)

    图4.34所示为双压力阀结构原理,有两个输入口A、B和一个输出口C。双压阀的作用相当于逻辑与门的逻辑功能,即只有A、B同时有输入时,C才有输出。

四、快速排气阀

    图4.34为快速排气阀的工作原理。当P口有输入时,活塞上移,阀口1开启,阀口2关闭,P→A接通,A口有输出。当P口排气时,活塞在两侧压差作用下迅速向下移动,将阀口1关闭。阀口2开启,A→O接通,输出管路中的气体经A口通过排气口0排出。快速排气阀主要用于气缸的排气,以加快气缸动作速度。使用时,快速排气阀应安装在气缸排气口附近,以保证气缸快速排气。

气动技术_4、气动控制阀(图文教程),气动技术_4、气动控制阀,教程,技术,第31张

五、 溢流阀(安全阀)

(一)分类及特点

    溢流阀和安全阀在结构和功能方面往往相类似,有时可不加以区别。它们的作用是当气动回路和容器中的压力上升到超过调定值时,把超过调定值的压缩空气排入大气,以保持进口压力的调定值。实际上,溢流阀是一种用于维持回路中空气压力恒定的压力控制阀;而安全阀是一种防止系统过载、保证安全的压力控制阀。溢流阀的分类及特点如下。

按开启高度分:

1)微启式开启高度为阀座通径的1/40—1/20。通常做成开启高度随压力变化而逐渐变化的渐开式结构。

2)全启式开启高度等于或大于阀座通径的1/4。通常做成突开式(阀心在开启过程中的某一瞬间突然跳起,达到全开高度)结构。按加载结构可分为:

a) 杠杆重锤式重锤通过杠杆加载于阀心上,载荷不随开启高度而变化。对振动敏感,不适用于运动的系统。

b) 弹簧式弹簧力加载于阀心,载荷随开启高度而变化。对振动不敏感,可用于运动的系统。允许加较大的阀心载荷。

c) 先导式由主阀和直动式先导阀组成。介质压力和弹簧力同时加载于主阀心,超压时先导阀先开启,导致主阀开启。主要用于大口径和高压的场合。

(二)溢流阀的工作原理

气动技术_4、气动控制阀(图文教程),气动技术_4、气动控制阀,教程,技术,第32张

    图4.35所示为一种直动式溢流阀的工作原理图。图中,阀在初始工作位置时,预先调整手柄使调压弹簧压缩,阀门关闭。当气动系统中的空气压力在规定范围内时,由于气压作用在活塞上的力小于调压弹簧的预压力,活塞处于关闭状态。当气动系统中的压力升高,作用在活塞上的气压力超过了弹簧的预压力,活塞上移开启阀门排气,直到系统中的压力降到规定压力以下时,阀门重新关闭。阀门的开启压力大小靠调压弹簧的预压缩量来实现。

气动技术_4、气动控制阀(图文教程),气动技术_4、气动控制阀,教程,技术,第33张

(三)先导式溢流阀

    如图4.36所示,这是一种外部先导式溢流阀。溢流阀的先导阀为减压阀。由减压阀输出的气压从上部控制口输入,此压力称为先导压力。其特点是,阀在开启和关闭过程中,使控制压力保持不变,即阀不会因阀的开度引起调定压力的变化。阀的流量特性好。

(四) 膜片式安全阀

    如图4.37所示,其特点是由于膜片的受压面积比阀心的面积大得多,阀门的开启压力与关闭压力较接近,即阀的压力特性好,动作灵敏,但阀的最大开启量较小,流量特性差。这种阀常用于保证回路内的工作气压恒定。

六、 顺序阀

    顺序阀亦称压力联锁阀,它是一种依靠回路中的压力变化来实现各种顺序动作的压力控制阀,常用来控制气缸的顺序动作。若将顺序阀和单向阀组装成一体,则称为单向顺序阀。顺序阀常用于气动装置中不便于安装机控阀发行程信号的场合。图4.38是顺序阀的工作原理图,图4.39是单向顺序阀的工作原理图。它们都是靠调压弹簧的预压缩量来控制其开启压力大小的。

    在图4.38a中,压缩空气从P口进入阀后,作用在阀心下面的环形活塞面积上,与调压弹簧的力相平衡。一旦空气压力超过调定的压力值即将阀芯顶起,气压立即作用于阀芯的全面积上,使阀达到全开状态,压缩空气便从A口输出.当P口的压力低于调定压力时。阀再次关闭,如图4.38b所示。

图4.39a所示为单向顺序阀进气时的工作原理。这时,单向阀在弹簧和进气压力的作用下,处于关闭状态。排气时气流反向流动(如图4.39b所示的气流方向),阀心在弹簧作用下使阀关闭。此时。单向阀在气压作用下克服弹簧力而开启,反向流动的压缩空气经单向阀从0口排出。

气动技术_4、气动控制阀(图文教程),气动技术_4、气动控制阀,教程,技术,第34张

七、流量控制阀

    流量控制阀对流过元件或管道的流量进行控制。只需改变流通面积就可实现。从流体力学角度看,流量控制是在气动回路中利用某种装置造成一种局部阻力,并通过改变局部阻力的大小,来达到调节流量的目。实现流量控制的方法有两种,一种是设置固定的局部阻力装置,如毛细管、孔板等;另一种是设置可调节的局部阻力装置,如节流阀。

(一) 节流阀

   图4.40所示节流阀常用的孔口结构。图4.40a、b、c分别为平板阀结构、针阀结构和球阀结构。

气动技术_4、气动控制阀(图文教程),气动技术_4、气动控制阀,教程,技术,第35张

(二)速度控制阀

    速度控制阀是由单向阀和节流阀组合而成的流量控制阀,因常用作气缸的速度控制而得名,又称作单向节流阀。图4.41所示为速度控制阀结构原理。一般常用的阀如图4.41a所示,当气流沿A→0方向流动时,在气压作用下单向阀被打开,满流通过,无节流作用;而气流沿P→A方向流动时,单向阀关闭,节流阀节流,此时称为正向流动。通常,速度控制阀的流量调节范围为管道流量的20%へ30%。对于要求能在较宽范围里进行速度控制的场合。可采用单向阀开度可调节的速度控制阀,如图4.41b所示。

    图4.41c所示为先导式速度控制阀。当阀的控制口没有输入信号时,气流沿A→ B流动被节流;当输入控制信号后,活塞在C口控制气压作用下,通过阀杆将单向阀顶开,使气流A→B方向满流通过。但阀处于反向流动(B→A)状态时,不管控制口有无信号,气流总是从B→A满流通过。

气动技术_4、气动控制阀(图文教程),气动技术_4、气动控制阀,教程,技术,第36张

(三)排气节流阀

    排气节流阀的工作原理与节流阀相同,只是安装在元件的排气口。装在元件的排气口如换向阀的排气口),通过改变排气流量来控制气缸的运动速度。由于其结构简单,安装方便,能简化回路,故应用广泛。

气动技术_4、气动控制阀(图文教程),气动技术_4、气动控制阀,教程,技术,第37张

    图4.42所示为排气节流阀结构,图4.42a为带消声器的节流阀,直接拧在换向阀的排气口上,图4.42b为将节流阀直接安装在膜片式换向阀阀体内的一种结构,调节调整螺钉的位置就可以改变节流阀芯(塑料制品)的开度,即改变排气口01的流通面积,控制A→01的排气速度。

免责声明:
1;所有标注为智造资料网zl.fbzzw.cn的内容均为本站所有,版权均属本站所有,若您需要引用、转载,必须注明来源及原文链接即可,如涉及大面积转载,请来信告知,获取《授权协议》。
2;本网站图片,文字之类版权申明,因为网站可以由注册用户自行上传图片或文字,本网站无法鉴别所上传图片或文字的知识版权,如果侵犯,请及时通知我们,本网站将在第一时间及时删除,相关侵权责任均由相应上传用户自行承担。
[complaint:内容投诉]
智造资料网打造智能制造3D图纸下载,在线视频,软件下载,在线问答综合平台 » 气动技术_4、气动控制阀(图文教程)