机械制图-2.4零件表达方案举例(图文教程)

4.零件表达方案举例 
    选择表达方案应考虑的几个问题 
(1)一组图形间的关系 
    根据主要形体结构选择基本视图,而其局部结构形状则选择辅助图形来表达 。
(2)零件内、外结构形状表达 
    内形较外形复杂时可用全剖视图;内外结构形状均需表达时,可用半剖视图或局部剖视图。
(3)集中与分散表达 
    主视图应重点表达主要形体或重点结构,适当地将局部结构分散到其它基本视图上或画成辅助图形
表达 。
(4)便于标注尺寸
    选用的一组图形,应便于合理地标注尺寸和技术要求 。
零件表达方案举例 
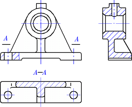
[例1]如图所示轴承座,由支承、圆筒、底板三部分组成。
                 机械制图-2.4零件表达方案举例(图文教程),机械制图-2.4零件表达方案举例,主视图,视图,结构,第1张
                                   (a)轴承座轴测图                           机械制图-2.4零件表达方案举例(图文教程),机械制图-2.4零件表达方案举例,主视图,视图,结构,第2张

(b)轴承座三视图

     图3-11 轴承的表达方法
    主视图选图示的工作位置,从表达零件形状特征及整体表达方案考虑,选择A为获得主视图的投射方向。支承肋板部分需用主、左两个视图表达,底板需要主、俯两个视图表达,将轴承座的三个部分都完整地表达清楚则需选取主、俯、左三个视图。如图3-11(b)所示。

[例2]如图所示箱体,可分为腔体和底板两大部分,腔体的内、外结构形状复杂程度类似,四个侧面和上、下底面均有孔和凸台。 主视图选图示的工作位置,投射方向为A 。           机械制图-2.4零件表达方案举例(图文教程),机械制图-2.4零件表达方案举例,主视图,视图,结构,第3张    


图3-12 箱体轴测图

其表达方案如下图所示:

                 机械制图-2.4零件表达方案举例(图文教程),机械制图-2.4零件表达方案举例,主视图,视图,结构,第4张


    图3-13 箱体表达方案

免责声明:
1;所有标注为智造资料网zl.fbzzw.cn的内容均为本站所有,版权均属本站所有,若您需要引用、转载,必须注明来源及原文链接即可,如涉及大面积转载,请来信告知,获取《授权协议》。
2;本网站图片,文字之类版权申明,因为网站可以由注册用户自行上传图片或文字,本网站无法鉴别所上传图片或文字的知识版权,如果侵犯,请及时通知我们,本网站将在第一时间及时删除,相关侵权责任均由相应上传用户自行承担。
[complaint:内容投诉]
智造资料网打造智能制造3D图纸下载,在线视频,软件下载,在线问答综合平台 » 机械制图-2.4零件表达方案举例(图文教程)