机械设计基础试题(8)(图文教程)

一.填空:

1.  机构具有确定运动的条件是:___________________

2.  在轴的初步计算中,轴的直径是按____来初步确定的。

3.  曲柄摇杆机构中,曲柄为主动件时,_________为死点位置。

A)曲柄与连杆共线   B)摇杆与连杆共线   C)不存在

4.  凸轮机构基圆半径越_________,压力角越_________,机构传动性能越好。

5.  凸轮机构中的压力角是指_________间的夹角。

(A)  凸轮上接触点的法线与该点的线速度方向。

(B)   凸轮上的接触点的法线与从动件的运动方向。

(C)  凸轮上的接触点的切线与从动件的运动方向。

6.  B18*50的含义是_____________________

7.  普通平键的三种形式为_______________

8.  设计键联接的几项内容是:A:按轮毂宽度选择键长,B:按要求选择键的类型,

C:按轴的直径选择键的剖面尺寸,D:对联接进行必要的强度校核。

在具体设计时,一般顺序是_____________________

9.  螺纹的公称直径是指它的_____M16*2的含义是_____________________

10.       用于薄壁零件联接的螺纹,宜采用_________。(A)梯形螺纹B)三角形细牙螺纹C)三角形粗牙螺纹

11.       某调整螺旋,采用双线粗牙螺纹,螺距为3mm,为使螺母相对螺杆沿轴向移动12mm,螺杆应转_____圈。

A3 B2  C4  D2.5

12.       国标规定,三角带有___________七种类型,代号B2280表示_____________

13.       带传动主要依靠___________来传递运动和动力的。

(A)  带和两轮接触面之间的正压力  B)带的紧边拉力  C)带和两轮之间接触面之间的摩擦力(D)带的松边力

14.       工作条件与型号一定的三角带,其寿命随小带轮直径的增大而__。(A)增大B)减小C)无影响

15.       三角带横截面为等腰梯形,夹角为40度,则设计三角轮带时,轮槽夹角为__

(A)  40  B>40  C<40

16.       带传动的主动轮直径d1=180mm,转速n1=940rpm,从动轮直径d2=710mm,转速n2=233rpm,则弹性滑动系数为ε__

17.       为使三角带传动种各根带受载均匀,带的根数不宜超过__根。(A4  B6  CD10

18.       渐开线齿廓形状取决于_________大小。

19.       渐开线标准直齿圆柱齿轮正确啮合条件为:____________

20.       齿轮传动的标准安装是指_______________

21.       齿轮传动的重合度越大,表示同时参加啮合的轮齿数目_______,齿轮传动越____________

22.       仿形法加工齿轮,根据被加工齿轮的____________选择刀号。

23.       滚动轴承6312”的含义是____________

24.       滚动轴承的额定动载荷是指____________

25.       在正常条件下,滚动轴承的主要失效形式是____________

(a)    滚动体碎裂

(b)   滚动体与滚道的工作表面产生疲劳点蚀。

(c)   保持架破坏。

(d)   滚道磨损。

  判断正误(10分)

  1.凸轮机构中,凸轮最大压力角出现于凸轮轮廓坡度较陡的地方。(       

     2.普通平键联接是依靠键的上下两平面间的摩擦力来传递扭矩的。(       

  3.带传动中弹性滑动现象是不可避免的。                            

  4.  m,α,ħa*,c*都是标准的齿轮是标准齿轮。                           

  5.工作中转动的轴称为转轴。                                  

  简要回答:(4X5分)

1.  绘制下列机构图示位置的压力角。

机械设计基础试题(8)(图文教程),机械设计基础试题(8),基础,教程,第1张

2.  在螺旋升角,摩擦系数相同的情况下,试比较三角形,梯形,矩形螺纹的自锁性和效率(简述理由)。

3.  为什么要限制标准齿轮的最少齿数?

4.  在选择大小齿轮材料及热处理方法时,应考虑一个什么问题,为什么?

  计算题:(20分)

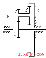
7分)1.计算图示机构的自由度,并判定其是否具有确定的运动。

机械设计基础试题(8)(图文教程),机械设计基础试题(8),基础,教程,第2张

13分)2.图示轮系,已知Z1=30Z2=20Z2`=30,`Z3=74,且已知n1=100转/分。试nH

机械设计基础试题(8)(图文教程),机械设计基础试题(8),基础,教程,第3张
参考答案

该文章所属专题:机械设计基础试题

参考答案:


填空:
1 原动件数等于自由度数
2 扭转强度
  不存在
4    大、小
5   凸轮上接触点的法线与该点的线速度方向
B 型 长度50mm
7   A  B  C
B C A D 
外径  细牙螺纹外径16螺距2
10   三角形细牙螺纹
11  2
12  Y Z A B C D E      B 型 长度2280mm    
13  带和两轮之间接触面之间的摩擦力
14  增大
15  <40
16   0.022
17  10
18  基圆
19  模数压力角相等
20  节圆分度圆重合
21  多  平稳
22  Z  m
23  深沟球轴承 直径系列3内径60
24  L=1(106转)时承受的载荷
25  滚动体与滚道的工作表面产生疲劳点蚀。
 
二、判断正误
1  对 
2  错
3  对
4  错
三、简要回答
2   由于牙型角三角螺纹自锁最好,梯形次之,矩形最差。效率矩形自锁最好,梯形次之,三角螺纹最差。
3   范成法加工齿轮齿数少于17发生根切
4  配对材料大齿轮硬度大小齿轮硬度50左右 

  因为小齿轮受载次数多,齿根薄

  计算题
1  2 具有确定的运动
2            n3=0

     (n1-nH)/(-nH)=-Z2Z3/Z1Z2'       

        n1/nH=2.64   nH=37.88

该文章所属专题:机械设计基础试题

免责声明:
1;所有标注为智造资料网zl.fbzzw.cn的内容均为本站所有,版权均属本站所有,若您需要引用、转载,必须注明来源及原文链接即可,如涉及大面积转载,请来信告知,获取《授权协议》。
2;本网站图片,文字之类版权申明,因为网站可以由注册用户自行上传图片或文字,本网站无法鉴别所上传图片或文字的知识版权,如果侵犯,请及时通知我们,本网站将在第一时间及时删除,相关侵权责任均由相应上传用户自行承担。
[complaint:内容投诉]
智造资料网打造智能制造3D图纸下载,在线视频,软件下载,在线问答综合平台 » 机械设计基础试题(8)(图文教程)