一般汽车的主要灯饰件就是前后大灯。车灯不同的车系有不同的配置,同一车系依据高低配置也不尽相同。组成汽车前后灯的主要零件有:左右透镜.左右装饰框.左右灯壳.左右反射镜等。汽车车灯的外观要求极为严格,本文选取某名牌汽车前大灯模具进行介绍。本文详细介绍汽车车灯注塑模具的设计经验和要点,以某品牌汽车的一款汽车的前大灯作为案例来分析。
汽车前大灯组装效果如图1所示:

图1 汽车前大灯组装效果图

图2 汽车前大灯架构与效果图

图3 汽车后大灯架构与效果图

图4 汽车车灯主要零件图
车灯的组成:
图4所示为汽车车灯的主要零件,组成汽车前后灯的主要零件有:左右透镜.左右装饰框.左右灯壳.左右反射镜等。汽车车灯的外观要求极为严格,本文选取某名牌汽车前大灯模具进行介绍。

图5 汽车前大灯功能定义图
前大灯采用H7作为远近光光源,通过一个电机和挡片进行远近光切换;位置灯采用8颗LED,并带有单独的位置灯配光镜;转向灯采用PY21W作为光源,无单独配光镜,透镜上可以做适当的花纹。装饰框局部做磨砂效果,磨砂区域如图6所示,其余部分高亮。

图6 汽车前大灯磨砂位置
通过图5与图6所示:外观可观察到本大灯的零件有:透镜.装饰框.装饰眉片.灯壳等,还有部分零件在大灯内部不可见。下面以此款车灯为例,介绍汽车前大灯灯壳塑件的模具设计经验与要点。
本文以汽车前大灯灯壳零件为例,详细介绍汽车灯壳注塑模具的设计要点与技术总结。汽车灯壳零件如图7所示:

图7 汽车前大灯灯壳零件图
1. 塑件外观要求与结构分析
图7所示为某品牌汽车前大灯灯壳零件图,材料为PP+TD20,其中PP为灯壳外罩的基体,TD20是材料中加入20%的滑石粉,主要是提高灯壳外罩的刚性。非外观件,属内部功能件。塑件尺寸为:475.3*355.6*291.4mm。塑件特点如下:
1)非外观件,塑件外观面不允许有斑点,收缩凹陷.熔接痕.飞边等缺陷(外观缩痕要求不是很高);
2)塑件为内部功能件,灯头孔.后盖孔等装配要求高;
3)塑件外形复杂,塑件外侧面有6处倒扣,灯壳除了灯头孔非左右镜像外,其余特征都是左右镜像;
4)塑件外侧面共有6处倒扣,需采用侧向抽芯结构;
5)根据塑件特征,灯壳塑件有粘定模风险,塑件设计需预防粘定模。
2. 模具结构分析
根据汽车灯壳的结构特点与外观要求,模具优先采用热流道注塑模结构。经模流分析结果与技术讨论,最终采用2点开放式热流道直接进胶。本模具S2,S3,S4,S5,S6由于在塑件外侧,倒扣面积大,因此优先采用动模“斜导柱+滑块”的抽芯结构。本模具最大外形尺寸为:1200*950*820(mm),总重量约8吨,属于大型注塑模具。详细结构见图8、图9、图10。

图8 汽车灯壳注塑模具结构图1

图9 汽车灯壳注塑模具结构图2

图10汽车灯壳注塑模具结构图3
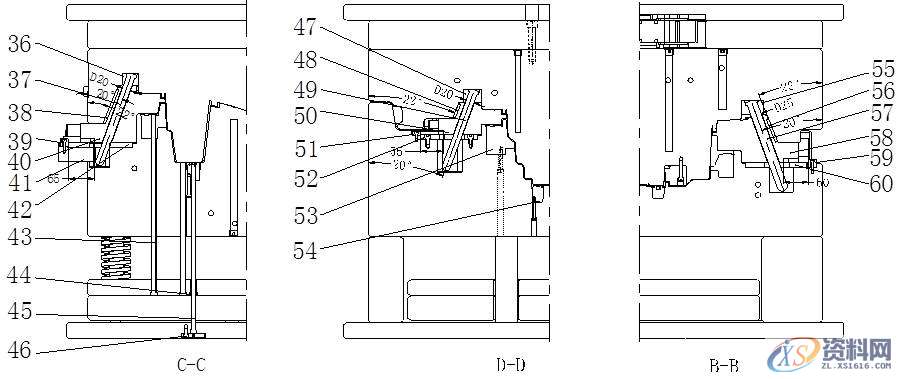
1.面板;2.热流道板;3.导柱;4.A板;5.承压板;6.导套;7.动模镶件;8.司筒;9.B板;10.顶针板导柱;11.方铁;12.顶针板导套;13.底板;14.锁模块;15.复位块;16.复位杆;17.支撑柱;18.复位弹簧19.弹弓胶;20.垃圾钉;21.限位柱;22.推杆面板;23.推杆底板;24.动模镶件;25.滑块;26.弹簧;27.斜导柱;28.耐磨块;29.耐磨块;30.动模镶针;31.定模镶件;32.定模镶件;33.二级热嘴;34.动模镶件;35.承压板;36.斜导柱固定块;37.斜导柱;38.耐磨块;39.限位块;40.滑块;41.滑块固定座;42.耐磨块;43.顶针;44.司筒;45.司筒针;46.司筒针压块;47.斜导柱固定块;48.耐磨块;49.斜导柱;50.滑块;51.限位块;52.耐磨块;53.动模镶件;54.动模镶件;55.斜导柱固定块;56.耐磨块;57.斜导柱;58.滑块;59.限位块;60.耐磨块;
2.1成型零件设计
由于模具为大型模具,分型面复杂,故成型零件和模板采用一体式结构,即模具的定模A板就是定模成型零件,模具的动模B板就是动模成型零件。这种结构的优点是结构紧凑,强度刚性好,模具体积小,避免了开框、配框和制造斜楔等繁琐的工序。
本模具因为塑件材料为PP+TD20,非外观件,故定、动模钢材采用P20,718均可。由于推件均在动模侧,故模具打开后塑件必须留在动模侧。本模具由于塑件外观形状复杂,开模后塑件有可能粘在定模,因此在设计灯壳注塑模具时要预防塑件粘定模现象的发生,具体措施是在塑件与定模包紧力大的区域对应面动模侧设计加强筋或设计倒扣纹,如果这样还会粘定模的话,还可以在推杆上加工倒扣拉住塑件留在动模侧。
设计本模具时要注意灯头孔镶件的设计,灯头孔左右是平移关系,而不是镜像关系,这是灯壳注塑模具容易犯错的地方之一,要注意灯头孔的尺寸精度,灯头孔的拔模斜度必须做到0.5°以内,否则会影响灯座与灯头孔的装配。灯壳塑件加强筋多,BOSS柱也较多,注塑模具的定、动模镶件很多,镶针与推管也多。定、动模镶件应采用冬菇头定位,做斜度。螺丝尽量从正面旋入,有胶位区域采用堵铜处理。其它方面,成型零件设计时要注意插穿角度,在汽车模具设计中,为了提高模具寿命与避免塑件飞边所有插穿位置设计7°以上角度。
本模具定动模对插部分的插穿角度至少保证在7度以上,为了保证定动模的精准定位,本模具AB板采用四面围边互锁定位。由于插穿处需要精确定位,在FIT模时,定动模需要紧配,为了模具美观与配模,在定模设计了5度耐磨块,从而避免钳工师傅因使用打磨机将模具打磨得很难看的现象发生。
本模具设计时还做到了以下几点:
1. 分型面顺滑无尖角,无薄钢,无线或点封胶;构建了面封胶,在分模时使用延伸,扫掠,网格等做面方法,分型根据塑件的形状构建面,车灯模具分型面要求极高,不允许构建的面起皱。构建的分型面能有效保证CNC加工精度,不需EDM清角,分型面也不容易跑毛边。车灯模具分型面光刀时需高速机,机床主轴转速保证每分钟至少20000转以上。
2. 镶件与动模的配合部分,止口根部设计了合适的工艺倒R角或避空位,简化了加工工序和减少加工工时,提高加工效率。
3. 所有非成型转角设计R角,防止应力开裂,工艺R角不小于R5,根据模具大小,尽可能设计比较大的工艺R角;模具上锐利的棱边容易造成操作人员意外受伤,模具上非参与成型或配合的棱边都要设计倒C角或R角,根据模具大小尽可能设计比较大的倒角。
4. 分型面的避空:模具分型面宽度为40MM,分型面以外的区域定动模都要避空1MM,以有效减少加工工时。分型面的避空不仅指外围分型面,也包括大面积的分型面。特别说明:模具分型面的宽度包括排气槽在内。在大面积的避空处要设计承压块,以保证模具受力均匀,避免模具长期生产跑披锋,在砰穿孔区域设计避空的同时,还要在定模或者动模设计排气孔,方便定动模合模时压缩的空气排出。
5. 分型面根据塑件形状构建,必要时对塑件进行优化处理。对于中大型模具,承压板槽尽量开通,方便CNC加工。设计分型面时尽量以简化模具加工,平整顺滑为原则,做出的分型面无薄钢,无尖角,插穿角度合理。
6. 分型面圆滑平整,UG分模时禁止出现很多碎面小面(CNC加工时易弹刀,加工精度降低),尽量用延伸面,网格面,扫掠面构建分型面,或者先延伸10-20mm封胶面,再做拉伸面与过渡面,封胶面根据注塑机吨位与模具的大小设计。
7. 分型面或者插穿孔所有插穿角度设计在7度以上,提高模具使用寿命。
8. 对于汽车中大型模具,镶件设计尽量优先从分型面装拆的方式,塑件胶位面可采取堵铜处理,镶件需两侧设计5度斜度,方便配模与装拆镶件。
2.2浇注系统设计
塑件通过模流分析,浇注系统采用2点开放式热流道直接进胶。在设计模具时,在热嘴区域以及热嘴正对着的动模区域,要设计冷却水来加强对热嘴区域的冷却,避免热嘴出现流延,拉丝, 浇口残留过高的现象发生。本模具为开放式热流道进胶,在设计热流道时要注意以下几点:
1. 热流道固定板涉及走线区域需要设计工艺R角,避免划伤电线。走线区域为了便于CNC加工,尽量走直线,少拐弯。
2. 设计热流道时需要仔细检查热流道插座的位置是否符合客户要求。
3. 模具的主射嘴必须低于面板至少2MM,以防翻模时碰坏热嘴。
4.液压系统与电气系统连接在非操作侧,不可超出码模板,如果超出码模板就需要设计保护板,或者将液压系统与电气系统沉入模板内侧,起到保护热流道元件,避免液压系统与电气元件被撞坏的现象发生。
本模具浇注系统采用热流道直接进胶,进胶点直接设计在塑件表面,这样的设计料流速度快,注塑周期短,成型质量好。因为灯壳为非外观件,表面的进胶痕迹不会影响外观。本模具的热流道浇注系统见图11,它由接线盒、一级热射嘴、二级热射嘴和热流道板组成。

图11汽车灯壳注塑模具热流道设计
2.3 侧向抽芯机构设计
每个塑件均有6个倒扣,模具分别由S1,S2,S3,S4,S5,S6六个侧向抽芯机构完成侧向抽芯。均采用了“动模滑块+斜导柱+定位夹”的抽芯机构,由滑块25、斜导柱27、斜导柱固定块36、定位夹26、限位块39和耐磨块28组成,见图12。这种结构加工简单,抽芯动作安全稳定可靠。
设计滑块时优先采用机械驱动结构,因为机械驱动最稳定可靠,且节省成本。滑块的设计原则是:
1.优先左右侧,次选天地侧,天侧设计滑块需要设计弹簧或定位夹定位。地侧滑块不设计弹簧,因为滑块凭着自身重量开模时会下掉,可以设计定位夹代替弹簧。
2.优先常规滑块,次选斜滑块。因为斜滑块加工难度大,成本高,结构更复杂,常规滑块更安全可靠。塑件排位时应尽量避免滑块和斜顶产生复合抽芯角度(即相互发生干涉),减小模具加工的难度,见图7。图7所示的滑块需朝上和朝右两个方向抽芯,加工困难。更改排位后,滑块只需朝上抽芯,加工简单。
3.滑块的设计需遵循动模优先原则,能动模滑块不定模滑块,能常规滑块不斜滑块,能斜滑块不隧道滑块。滑块的设计需确保滑块风险最小,塑件不能粘滑块。加工力求方便简单,模具结构简单化为原则。

图12滑块设计要点

图13汽车灯壳滑块侧向抽芯机构
2.4 温度控制系统设计
汽车前大灯灯壳尺寸精度高,模具温度控制系统设计要保证冷却均匀和快速冷却。要做到这一点,冷却水道距离型腔面必须大致相等,以达到模具型腔各处温度大致均衡。因为灯壳外形落差大,所以本模具的温度控制系统采用了“垂直式水管+隔片式水井”的组合形式,见图14与图15所示。本模具冷却充分,水路设计均匀合理,因此大大提升了塑件的生产效率,成功将注塑周期控制在40S左右。

图14(a)定模冷却系统

图15(b)动模冷却系统
本模具定动模温度控制系统为:定模设计了4循环水路,动模设计了5组循环水路。本模具温度控制系统设计时还要注意以下几点:
1)冷却水方向要与料流方向一致。冷却面积至少是塑件面积的60%。(不包含塑件以外的区域)。
2)定、动模冷却水道优先设计成十字网格形式,冷却回路形成互相交叉形成水路交织网,均匀冷却塑件。
3)在不能设计成十字交叉式水路时,定.动模水路在互相有缝隙处交互布置。
4)每一组冷却水尽量只设计四条循环水路,避免水路距离长影响塑件冷却效果。
5)冷却水路要设计成可与另一组水路进行外部水管连接的方式,方便后续塑件因变形、收缩等现象的调整。通过水路调整解决塑件缺陷,在汽车内外饰塑件模具上应用广泛。
6)各冷却水道间隔距离控制在水道的3.5~5倍直径(一般50~60mm左右),水管距型腔表面的距离一般在15~25mm之间,具体根据模具大小决定。
7)冷却水道与推杆、斜推杆、镶件之间的距离要保证在8~10mm以上,因为模具大且水道长,容易钻偏。
8)在汽车模具设计中,热嘴尽量要单独设计一组冷却水路,不能与其它水路串联,以利于热嘴区域的热量散失。
2.5 导向定位系统设计
本模具在4个角上各设计了1支D60*445圆导柱。(导柱最长做到10倍直径)导柱安装在定模侧,由于塑件开模后留在动模侧,这样就不会影响塑件取出,同时避免塑件粘上导柱上的油污。
导柱在翻模时还可作为支撑脚用,方便FIT模,如图16所示。圆形导柱的长度必须保证合模时,在斜导柱插入滑块之前20mm就插入导套,否则在模具的制造和生产中会带来很大的麻烦,严重时会损坏模具。模具导向系统的设计必须注意三级定位的设计,特别是要求高的汽车塑件。模具导向定位设计不合理会造成模具运动不顺畅,模具易损坏,定动模错位,塑件出现段差等问题,是注塑模具至关重要的系统。

图16汽车灯壳注塑模具导向定位系统
一级定位是指模具导柱的定位,是模具的初级定位,通过定动模导柱与导套的相互配合来完成定动模的定位。定位精度取决于模胚孔的加工精度与导柱导套的尺寸精度,模胚孔加工不准会造成导柱插烧。导柱同时也是承受模胚重量的主要零件,设计时要考虑其强度与长度,太长太弱的导柱也会造成模具定位不准与导柱插烧等问题。根据经验,导柱最长做到其直径的10倍。
导柱导套的作用可归纳为3点:
1.对活动的零件进行准确的导向与定位。
2.支撑模具重量。
3.保护模具成型零件。
一般导柱的直径大小按LKM标准来选择,非标模具导柱的直径大小可以参考LKM标准,位置可以按图17所示标准设计,模具的导柱直径最大一般只能做到80mm。导柱的长度要保证能够高出模具最高面30mm,有滑块的模具保证在斜导柱插入滑块之前20mm进入导套,如图18。在注塑生产过程中经常要对导柱导套做保养润滑,避免导柱导套摩擦。模具码模不紧与机台前后板的不平行也是造成导柱定位不准与插烧的原因。综上所述,模具的一级定位至关重要。
二级定位是指模具止口以及四面围边式的定动模互锁定位,二级定位主要是模胚的定位。定位精度要高于导柱导套的定位。止口上耐磨块槽尽量要配合加工,保证定动模的配合精度。耐磨块材料采用热处理材料CR12,在耐磨块摩擦面要有油槽润滑,耐磨块可以有效保护模具上的薄弱插穿面,对精密模具与汽车模具来说二级定位非常重要。模具插穿面容易造成磨损与塑件易出现飞边问题。现实生产中很多塑件外观面的拖伤也是与二级定位没有设计有关系,这一点需要特别引起重视。
三级定位是指模仁上设计止口定位,主要保护模具插穿面的精确定位。模仁上止口的定位是定动模仁上的精准定位,是有效保护模仁上插穿面的机构,同时也承受注塑的侧向压力。设计时不能向同一方向设计,需互锁,避免模具向一侧倾斜打滑,如图19。止口定位一般设计为角度插穿,角度要比模仁上最小插穿角度与外观面纹面角度小0.5-1度,才能保证在开合模过程中有效保护模仁插穿面与防止纹面拉花拉伤。止口在加工与合配模具时插穿要比模仁上紧,需要设置合理的加工公差,尽量采用机床加工精度保证其配合精准,避免人工配合。这一点对汽车模具与精密模具尤为重要,止口高度设计需比模仁最高面高5-10mm,可有效保护模仁面。
汽车注塑模具的三级定位一级比一级准确,三级定位对于汽车模具与精密模具影响重大。是保证塑件质量与模具导向定位的关键,对于其它模具也同样适用。如果塑件没有任何插穿面与外观纹面时可以省掉部分定位设计,其余都要设计三级定位,并且要保证精度。

图17导柱位置设计标准

图18圆导柱强度与长度设计参考

受力不平衡,有侧滑趋势
图19止口设计要点
2.6 脱模系统设计
本模具为“推杆+推管+弹簧+拉复位”结构,模具在定动模开模后,依靠推件推出塑件,推件固定板由注塑机通过油缸推动,在4支复位杆的作用下复位。顶针设计尽量大,尽量少设计不同规格的顶针,避免频繁更换钻嘴。本模具脱模系统设计需要注意以下几点:
1. 所有异形面推杆必须设计止转,避免发生错误装配,顶针表面嗮网格,避免顶出时推杆打滑。
2. 回针孔设计单边有避空(中小型模具避空0.5,大型模具避空1.0),回针端部设计工艺螺丝孔。为了方便加工、合模,回针直径大于等于20MM时,回针对面要设计垫块。注塑机设备顶出孔不能与垃圾钉、支撑柱干涉。
本注塑模具脱模机构采用“推杆+推管”结构形式,模具在定、动模开模与侧向机构抽芯后,依靠模具推出系统推出塑件,推件固定板由注塑机通过KO孔机械推动和在4支复位杆的作用下复位。汽车注塑模具在设计脱模系统时要注意以下几点:
1. 大型模具(长宽方向超过1400mm×700mm)需设计6支复位杆与6支推杆板导柱,定模A板上与复位杆接触的位置要设计一个直径比复位杆大5mm的耐压块,耐压块一般选用45#(或S50C)表面氮化处理。推杆板导柱要布置在推出力大的推出元件附近(如油缸、复位杆等)。
2. 所有汽车注塑模具需要设计限位柱,限位柱要优先布置在KO孔上方或附近。
本模具部分滑块底下有推杆,为防止合模时推杆和A板反复撞击导致A板和推杆相撞,模具设计了一个推件板先复位机构:在4根复位杆固定端的下方各设计一根¢20×20的弹簧,复位杆固定板的大头孔比复位杆固定端深3mm,开模后由于弹簧的作用,复位杆会往前比推件多推出3mm,这样就可以保证合模时复位杆和定模A板提前3mm接触,将推件固定板和推件提前推回复位,达到推出零件先复位的目的。
塑件后盖孔与左右转向灯头孔由于塑件装配时要加密封圈,密封效果要求很高,因此此区域不要设计推杆,以免影响密封性。

图20 汽车灯壳注塑模具顶出复位系统
2.7 模胚结构件设计
本模具采用4支D60*445导柱导向与支撑,模具整体强度好。在注塑过程中,由于受注塑压力的影响,模板的强度将会受一定程度的影响。因此,除了模胚强度足够外,还需要设计一些辅助结构件,用来加强模具的强度与寿命。设计时注意以下几点:
1. 为了FIT模与加工方便,本模具在顶针底板与码模板之间设计6个工艺螺丝,工艺螺丝规格要比顶针板螺丝大一规格,在工艺螺丝旁刻上“工艺螺丝”字样,因为工艺螺丝在模具生产时是要拆除的,这样设计的目的是便于钳工辨认,防止出错。限位柱尽量布置在KO孔上方或附近,在斜顶与直顶底部或附近多布置垃圾钉,间距150mm左右。
2. 模具分型面上承压块沉如模内,承压块和精定位不能开油槽,承压快槽模框边缘至少保证15mm以上距离。
3. 限位柱的设计:机械顶出的模具设计在顶棍孔上方;油缸顶出的模具设计在油缸附近。
4. 支撑柱的设计:支撑柱与方铁之间距离应保持在25-30mm,支撑柱与支撑柱之间距离在80-120mm。支撑柱总面积为顶针板面积的25%-30%。1.在进胶区域与塑件投影面积区域多设计支撑柱,而且支撑柱设计尽量大。因为这些区域注塑压力集中,分型面很容易出现飞边,因此多设计支撑柱可减少分型面与流道飞边的产生。2.在模具掏空位置,强度较弱的位置布置撑头,如滑块底部,内抽芯底部等。
5. 回针的底部必须设计垃圾钉(垃圾钉设计在底板上);如果顶出系统由两张板组成,回针附近必须设计紧固螺丝,避免顶针板变形。
3. 模具工作过程
熔体通过注塑机喷嘴,经热嘴33进入模具型腔,熔体充满型腔后,经保压、冷却和固化,至足够刚性后,注塑机拉动模具的动模固定板13,模具从分型面PLⅠ处开模。开模500mm后,塑件所有滑块在斜导柱的驱动下与塑件脱离。注塑机油缸推动推件固定板22,推件固定板推动推杆16,接着油缸继续作用,顶出75mm后,塑件与动模分离,塑件经过机械手取件后,注塑机油缸拉动推件及其固定板复位,接着注塑机推动动模合模,模具开始下一次注射成型。
4. 模具强度与分型面管位设计
本模具分型面管位设计在定动模上,采用四角止口与四面围边的设计形式,这样定位既可靠模具强度亦好,模具布局紧凑合理。在汽车模具设计中,定动模插穿处角度尽量设计到7度以上,实在不行也要设计在5度以上。因为插穿角度大,模具寿命会大大提高,模具插穿处披锋的现象也会大大降低。对于插穿角度在3度以下的位置,1度精定位与0度精定位很难保证定动模精准地定位,所以插穿角度应尽量取大,对于大中型模具一般建议设计在7度以上,从而保证模具的使用寿命。
根据塑件的尺寸大小与结构来设计模具时,首先必须保证模具的强度和刚性,这一点对大型汽车注塑模具尤其重要。合理的模具设计理念应该是:模具强度既合理又不浪费,就地取材,模具强度与成本兼顾,选取最优的设计方案与加工工艺。对于模具强度太强显得乱费,太弱则影响模具使用寿命。本模具分型面管位设计在定动模,定动模四面围边四周做5°斜度,四周做耐磨块,此种四面围边的设计方法在汽车门板与挡泥板等模具上应用广泛。
图16所示A.B两尺寸的计算方法是:首先从塑件最大边缘加40mm封胶位(在汽车模具设计中,小型模具(5050以内)30mm封胶,中型模具(5050-1010)40mm封胶,大型模具(1010以上)50mm封胶。),再加50-70mm避空位(在汽车模具设计中,只有封胶位配合,其余全部避空,减少FIT模工作量。避空位也是保证模具强度的区域。),然后再加上模胚处分型面承压板的尺寸就是A.B的尺寸,这样就设计出既符合客户模具强度要求又节省成本的模具。C处尺寸不同塑件数值会不一样,最少D处尺寸定模要保证塑件最高胶位面有80mm以上距离,动模由于承受注塑压力大,需相应加厚,E处最低设计100mm以上。用来保证模具强度。


图21 汽车灯壳注塑模具强度
5. 模具排气系统设计
汽车注塑模具一般较大,排气系统的设计相当重要。如果排气结构设计不合理,会严重影响塑件的质量,出现包括填充不满、困气、脱模不顺等注塑缺陷,严重时产品分型面处还会出现烧焦痕迹。汽车前大灯灯壳属于内部功能件,合理设计排气至为重要。本模具排气开设在分型面上,根据塑件特征,排气槽开设在动模上。这种排气槽加工方便快捷,可以直接CNC加工出来。在设计模具排气系统时要注意以下几点:
1)排气要优先开设在料流末端与塑件转角位置。
2)靠近镶件或壁厚最薄处,因为这里最容易形成熔接痕。
3)最好开设在分型面上,因为分型面上产生溢料最容易清除。
本模具排气设计在动模侧的分型面上,如图22所示。

图22 汽车灯壳注塑模具排气系统设计
6. 结果与讨论
汽车灯壳塑件很容易出现粘定模的现象,解决车灯灯壳塑件粘定模的前期设计预防一般是:
1. 模具设计前检查塑件抱紧力大的区域的脱模斜度是否大于3度以上,尽量设计在5度以上,避免粘定模与塑件拖伤。
2. 在塑件容易粘模与包紧力大的内侧面设计倒扣纹,倒扣纹深度在0.5~1mm,倒扣纹设计在靠近塑件的圆角处。
3. 塑件定模包紧力大处其相对应的塑件内侧面设计加强筋,或者在推杆上设计倒扣勾。
本模具设计中塑件抱紧力大的区域由于出模斜度在5度以上,且在动模侧设计了0.5mm深的倒扣纹,因此模具顶出脱模顺利,各机构运动顺畅,模具安全稳定可靠,模具没有粘定模的现象,成功解决了灯壳类塑件粘定模的问题。该车型模具试产后,装车效果良好,尺寸稳定。改款车灯车展中得到了客户的认可与好评,为客户创造了一定的经济效益。
(文章转载于网络、仅供学习分享,如有侵权请联系删除)
东莞潇洒职业培训学校目前开设课程有:学历提升、积分入户、数控编程培训、塑胶模具设计培训,压铸模具设计培训、冲压模具设计培训,精雕、ZBrush圆雕培训、Solidworks产品设计培训、pro/E产品设计培训、AutoformR7工艺分析培训,非标自动化设计、PLC编程、CNC电脑锣操机、平面设计等培训,潇洒职业培训学校线下、线上等网络学习方式,随到随学,上班学习两不误,欢迎免费试学!
联系电话:13018636633(微信同号) QQ:1740467385
学习地址:东莞市横沥镇新城工业区兴业路121号-潇洒职业培训学校
1;所有标注为智造资料网zl.fbzzw.cn的内容均为本站所有,版权均属本站所有,若您需要引用、转载,必须注明来源及原文链接即可,如涉及大面积转载,请来信告知,获取《授权协议》。
2;本网站图片,文字之类版权申明,因为网站可以由注册用户自行上传图片或文字,本网站无法鉴别所上传图片或文字的知识版权,如果侵犯,请及时通知我们,本网站将在第一时间及时删除,相关侵权责任均由相应上传用户自行承担。
[complaint:内容投诉]
智造资料网打造智能制造3D图纸下载,在线视频,软件下载,在线问答综合平台 » 汽车模具设计:汽车前大灯灯壳注塑模如何设计?

