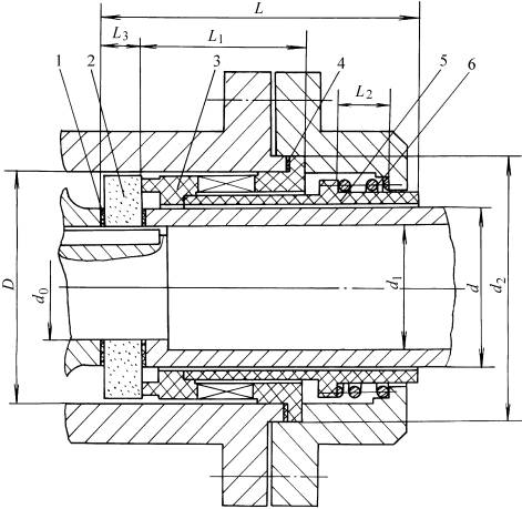
153a型机械密封主要尺寸 (mm)

1、4—辅助密封圈 2—旋转环 3—波纹管静止密封环 5—推套 6—弹簧
规 格 | 公 称 尺 寸 | ||||||||
d0 | d | d1 | d2 | D | L | L1 | L2 | L3 | |
153a-35 | 20 | 35 | 25 | 61 | 51 | 85.5 | 44.5 | 14.0 | 10.5 |
153a-40 | 25 | 40 | 30 | 70 | 60 | 86.5 | 44.0 | 14.5 | 10.5 |
153a-45 | 30 | 45 | 35 | 75 | 65 | 94.5 | 48.5 | 15.0 | 11.5 |
153a-50 | 30 | 50 | 35 | 80 | 70 | 97.5 | 48.5 | 18.0 | 11.5 |
153a-55 | 35 | 55 | 40 | 85 | 75 | 104.5 | 55.0 | 17.0 | 12.5 |
153a-60 | 40 | 60 | 45 | 95 | 85 | 108.5 | 55.0 | 21.0 | 12.5 |
153a-70 | 50 | 70 | 55 | 105 | 95 | 112.5 | 55.0 | 25.0 | 12.5 |
免责声明:
1;所有标注为智造资料网zl.fbzzw.cn的内容均为本站所有,版权均属本站所有,若您需要引用、转载,必须注明来源及原文链接即可,如涉及大面积转载,请来信告知,获取《授权协议》。
2;本网站图片,文字之类版权申明,因为网站可以由注册用户自行上传图片或文字,本网站无法鉴别所上传图片或文字的知识版权,如果侵犯,请及时通知我们,本网站将在第一时间及时删除,相关侵权责任均由相应上传用户自行承担。
[complaint:内容投诉]
智造资料网打造智能制造3D图纸下载,在线视频,软件下载,在线问答综合平台 » 153a型机械密封(图文教程)
1;所有标注为智造资料网zl.fbzzw.cn的内容均为本站所有,版权均属本站所有,若您需要引用、转载,必须注明来源及原文链接即可,如涉及大面积转载,请来信告知,获取《授权协议》。
2;本网站图片,文字之类版权申明,因为网站可以由注册用户自行上传图片或文字,本网站无法鉴别所上传图片或文字的知识版权,如果侵犯,请及时通知我们,本网站将在第一时间及时删除,相关侵权责任均由相应上传用户自行承担。
[complaint:内容投诉]
智造资料网打造智能制造3D图纸下载,在线视频,软件下载,在线问答综合平台 » 153a型机械密封(图文教程)

