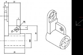
剖面

  • 1