机械制图-2.3典型零件的视图(图文教程)

3 典型零件视图选择
    确定零件视图表达方案的主要依据是零件的结构形状,而形状相近的零件在表达方法上则具有共同的特点。一般机器零件按其形状的不同大致可分为轴套、轮盘、叉架和箱体壳座等类型。下面分别介绍它们在表达方法上的特点:

   (1)轴、套类零件的视图选择
   (2)轮、盘类零件的视图选择
   (3) 叉、杆类零件的视图选择
   (4) 箱体类零件的视图选择 
小结
  (1) 轴、套类零件的主视图按加工位置使轴线水平放置,一般只需一个基本视图,另加断面图及局部放大图等。
  (2) 轮、盘类零件的主视图也按加工位置使轴线水平放置,一般需要两个基本视图。
  (3) 叉、杆类零件倾斜、弯曲的较多,一般以最能反映其形状特征的视图作为主视图,常需要两个或两个以上的基本视图。
  (4) 箱体类零件较复杂,主视图的摆放要符合其在机器上的工作位置,一般需要三个或更多的基本视图。
  对于同一零件,通常可有几种表达方案,且往往各有优缺点,需全面地分析、比较。
  总之,选择视图时,各视图要有明确的表达重点,所选的视图既表达清楚、完整,又便于看图。
轴、套类零件
    轴、套类零件多用于传递动力或支撑其他零件,如轴、套桶、衬套、套管、螺杆等。
    (1)轴、套类零件的结构特点和加工方法   
    它们主要由大小不同的圆柱、圆锥等回转体组成。轴、套类零件多在车床、磨床上加工。由于设计、加工或装配上的需要,此类零件常有倒角、螺纹、退刀槽、键槽、销孔和平面等结构。   
    (2)视图选择    
    轴、套类零件用一个轴线水平放置的主视图和数量适当的断面图、局部放大图来表达。主视图轴线水平放置既符合零件视图选择的特征原则,也与其工作位置和加工位置一致。轴上的孔或凹坑等结构,可用局部剖视来表示。轴上的键槽、孔、结构平面等结构,需要用单独的断面图来表示,如图3-7
所示。实心轴一般不剖切,套类零件则需要用剖视表达它的内部结构。外部形状简单的可采用全剖视;
    形状复杂的可采用半剖视图。

    机械制图-2.3典型零件的视图(图文教程),机械制图-2.3典型零件的视图,制图,视图,零件,第1张


                图3-7 轴的表达方法

盘、盖类零件
    盘、盖类零件包括端盖、法兰盘、手轮、皮带轮等形状扁平的盘状零件。轮类零件一般传递动力,盖类主要起支撑、轴向定位、密封等作用。    
    (1)结构特点   
    盘、盖类零件的主体部分多为同轴回转体,也有主体为方形和其他形状的,且径向尺寸较大,轴向尺寸较小。零件上常有轴孔、沿圆周分布的孔、肋板、槽和齿等结构,如图3-8所示。

        机械制图-2.3典型零件的视图(图文教程),机械制图-2.3典型零件的视图,制图,视图,零件,第2张


             图3-8 端盖

    (2)视图选择
    盘、盖类零件通常用两个基本视图来表达,主视图为通过轴线的全剖视图,轴线水平放置,符合其加工位置。对有些不以车床加工为主的零件,主视图可按其形状特征和工作位置确定。
    盘、盖类零件的另一基本视图主要表达盘、盖上的槽、孔等结构在圆周上的分布情况。视图具有对称面时可采用半剖视图。
叉、架类零件
    叉、架类零件包括各种用途的拨叉、连杆、支架等。拨叉、连杆、拉杆主要用于机器操纵系统等各种机构中,支架主要起支撑和连接作用。这类零件的毛坯多为铸造或锻造件。
(1)结构特点
    多数叉、架类零件均由工作部分、安装部分和连接部分组成。工作部分一般是对相关零件施加作用的部分,如支架上的空心圆柱部分。支架的矩形的安装底版上有安装孔,用来进行支架的定位和连接。支架上的支撑板将支架的工作部分和安装部分连接起来。在支架类零件的构形设计时,一般先构造出零件的工作部分和安装部分,再添加连接部分。

   机械制图-2.3典型零件的视图(图文教程),机械制图-2.3典型零件的视图,制图,视图,零件,第3张   机械制图-2.3典型零件的视图(图文教程),机械制图-2.3典型零件的视图,制图,视图,零件,第4张


图3-9 支架


(2)视图选择

    叉、架类零件的结构形状比较复杂,还常有倾斜或弯曲的结构。它们的加工工序较多,且工作位置亦不固定,一般选择最能反映其形状特征的视图作为主视图。除主视图外,一般还要根据其结构特点,选择其他视图以及局部视图、断面图等表达方法加以表达。如图3-9所示。

机械制图-2.3典型零件的视图(图文教程),机械制图-2.3典型零件的视图,制图,视图,零件,第5张

箱体类零件
   箱体类零件包括泵体、阀体、机座和减速箱体等,箱体类零件多为铸造件,是组成机器或部件的主要零件。通常起支撑、容纳、定位和密封。
    (1)结构特点
    箱体类零件的主体结构按功能需要差异很大,但多是中空的壳体,具有较大的内腔,内腔的形状要根据箱体所包容零件的形状和运动轨迹来确定。箱体上运动件的支持部分是轴承孔,在轴承孔的端面有安装端盖的平面和螺孔等局部功能结构。
   (2)视图选择
    箱体类零件结构复杂,加工工序复杂,每个工序加工位置不尽相同。在选择主视图时一般按其工作位置和形状特征来确定。为表示出箱体复杂的内部形状和外部形状,要有足够数量的剖视图和外形图。细部结构可用局部视图和局部放大图来补充表示。
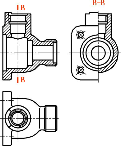
    如图3-10为阀体的视图,它由球形壳体、圆柱筒、方板、管接头组成,两部分圆柱与球形体相交,内孔相通。主视图按其工作状态放置,全剖的主视图表达了阀体的内部形状特征,各组成部分的相对位置等。
选半剖的左视图,表达阀体主体部分的外形特征、左侧方形板形状及内孔的结构等。选择俯视图表达阀体整体形状特征及顶部扇形结构的形状。

   机械制图-2.3典型零件的视图(图文教程),机械制图-2.3典型零件的视图,制图,视图,零件,第6张        机械制图-2.3典型零件的视图(图文教程),机械制图-2.3典型零件的视图,制图,视图,零件,第7张

                                   图3-10 阀体
    箱体上要构造底版和安装平面,平面上有定位销孔和连接螺孔。为加强局部强度,箱体上常有肋板等结构。考虑到运动部件的润滑,箱体上 常有加油孔、放油孔及安装油标等结构的平面和孔。在做箱体零件的构形设计时,一般先构造出零件的主体结构,再添加局部功能结构和工艺结构。

免责声明:
1;所有标注为智造资料网zl.fbzzw.cn的内容均为本站所有,版权均属本站所有,若您需要引用、转载,必须注明来源及原文链接即可,如涉及大面积转载,请来信告知,获取《授权协议》。
2;本网站图片,文字之类版权申明,因为网站可以由注册用户自行上传图片或文字,本网站无法鉴别所上传图片或文字的知识版权,如果侵犯,请及时通知我们,本网站将在第一时间及时删除,相关侵权责任均由相应上传用户自行承担。
[complaint:内容投诉]
智造资料网打造智能制造3D图纸下载,在线视频,软件下载,在线问答综合平台 » 机械制图-2.3典型零件的视图(图文教程)